Análise de Sistemas Dinâmicos - Exercícios
Prof. Alberto Adade Filho (ITA/CTA)

Índice

PROCEDIMENTO SISTEMÁTICO PARA MODELAGEM NO ESPAÇO DE ESTADOS

 

Usando o procedimento sistemático, determine um modelo no espaço de estados para o sistema abaixo:

 

  Determine uma representação em equação dinâmica para o sistema abaixo:

  Para o sistema esboçado abaixo, determinar um modelo no espaço de estados, usando o procedimento sistemático: (Obs. Entrada ta(t), Saída: x(t))  

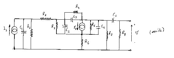
  Usando procedimento sistemático, obter um modelo no espaço de estados para o sistema:

           

 

 

Início da Página