Análise de Sistemas Dinâmicos - Exercícios
Prof. Alberto Adade Filho (ITA/CTA)

Índice

RESPOSTA EM FREQÜÊNCIA

 

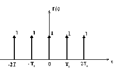
Determinar a série de Fourier para o trem de impulsos,

e plotar o espectro de freqüência.

O chamado filtro passa-baixa ideal é aquele que apresenta a seguinte função do sistema:

onde wc é chamada de freqüência de corte do filtro.

           (a)    Esboçar os espectros de amplitude e fase desse filtro

    (b)   Determinar e plotar a resposta a impulso do filtro;

         Por que esse filtro não é fisicamente realizável?

Para o sistema abaixo, determinar a resposta em freqüência senoidal H(jw) e esboçar os respectivos diagramas de Bode (magnitude e fase):

Esboce os diagramas de Bode (magnitude e fase) do sistema representado pelos blocos abaixo:

           

Um modelo físico de um acelerômetro sísmico está ilustrado na figura abaixo. A função de transferência é dada por,

Dado que a freqüência de ressonância do sensor é rad/s,

  1. determinar os valores dos parâmetros k, m e b;
  2. qual a largura de faixa deste sensor para entradas de aceleração? (obs. a largura de faixa pode ser definida em termos da(s) freqüência(s) de corte na resposta em freqüência).
  3. esboçar a resposta em freqüência (diagramas de Bode) desse sensor.

                       

A figura abaixo ilustra a representação assintótica da resposta em freqüência (magnitude em decibéis) de um sistema linear, invariante no tempo, de fase mínima. Estimar a função transferência deste sistema.

 

  A resposta em freqüência de um sistema eletrohidráulico linear, invariante no tempo, foi obtida conforme os diagramas de Bode abaixo. Estimar a função de transferência do sistema, G(s).

A resposta em freqüência de um sistema linear, invariante no tempo, foi obtida conforme o diagrama de Bode abaixo. Estimar a função de transferência do sistema, G(s).

O motor elétrico de acionamento de um sistema mecânico possui massa de 20 kg e deve ser instalado sobre quatro absorvedores de vibração, conforme ilustrado na figura abaixo.

Esse motor deve operar na faixa de 10 a 100 rad/s, e seu rotor possui um desbalanceamento representado pela força F0 = 0,05 w 2, onde F0 é expressa em newtons e w é a rotação do motor em rad/s. Considere os três tipos de absorvedores apresentados na Tabela, despreze qualquer efeito dissipativo e admita apenas o movimento vibratório na direção vertical.

Especifique (justificando) o(s) tipo(s) de absorvedor(es) que deveria(m) ser utilizado(s) para atender a requisitos de montagem que limitam em 1,0 mm o deslocamento vibratório vertical máximo do motor.

Dados/Informações Adicionais

Tabela

Constantes Elásticas dos absorvedores de vibrações

Tipo de Absorvedor

Constante Elástica de cada absorvedor

A

200000 N/m

B

20000 N/m

C

500 N/m

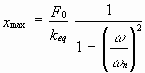
Amplitude do movimento para vibrações forçadas:

onde keq é a rigidez equivalente do conjunto de absorvedores, e w n é a freqüência natural do sistema. 

Para evitar problemas no funcionamento de um equipamento, cuja massa é de 10 kg, deseja-se limitar a amplitude das velocidades a que ele será submetido devido a vibrações em serviço. Testes indicam que acima de 100 Hz a base rígida sobre a qual ele vai ser montado experimenta as oscilações de maiores amplitudes, e que devem, portanto, ser minimizadas. Observa-se ainda que a amplitude destes deslocamentos varia muito pouco nesta faixa de freqüências.

Um engenheiro é incumbido de projetar a fixação do equipamento sobre a base rígida e decide modelar o conjunto equipamento/sistema de fixação como um oscilador linear com um único grau de liberdade. A razão entre as amplitudes da velocidade da massa de um oscilador linear e do deslocamento da base sobre a qual ele está montado varia com a freqüência de acordo com a expressão:

                   

onde v representa a amplitude da velocidade, y a amplitude do deslocamento da base, w (rad/s) a freqüência de oscilação da base, w n a freqüência natural de vibração do oscilador e z a razão de amortecimento do sistema, relacionado com a constante de amortecimento, b, através da equação:

                   

onde m é a massa do oscilador.

  1. Usando aproximações assintóticas, esboce o gráfico de (diagrama de Bode de magnitude).
  2. O engenheiro dispõe de três diferentes sistemas de fixação, para os quais o fabricante fornece as constantes de mola equivalentes Keq, e os coeficientes de amortecimento equivalentes, beq, reproduzidos na tabela abaixo. Qual deles você julga ser o mais apropriado? Justifique sua resposta.

SISTEMA DE FIXAÇÃO

Keq (N/m)

beq (N s/m)

Sistema A

4000

40

Sistema B

4000

20

Sistema C

16000

80

                                                            

Curvas de nível de mesma intensidade ("loudness") para o ouvido humano estão mostradas na figura abaixo. Para que um tom de 100 Hz seja percebido na mesma altura ("loudness") que um tom de 1000 Hz, o tom de 100 Hz deve ser aproximadamente 30 dB mais fraco em 100 Hz do que em 1000 Hz. Achar uma função de transferência que essencialmente tenha a mesma resposta em freqüência que a terceira curva a partir de baixo do gráfico.

 

Início da Página